

——正牌商家如何被“逼上梁山”
最近幾年,各大新聞媒體上報道出來的知名品牌被山寨的消息真是層出不窮,不勝枚舉。想喝“娃哈哈”,拿到的卻是“娃恰恰”;想吃“康師傅”,買到手的竟是“康帥傅”;還有“思念”變成“恩念”、“奧利奧”成了“粵利粵”……想想這些案例真的既可笑,也可恨。



由于山寨產品取名、選擇包裝的腦洞開得實在太大,正牌商家往往猝不及防。被逼無奈,這些正牌商家采用了“以牙還牙”的策略——先搶注一批商標,讓投機者無漏洞可鉆。
——大品牌被逼“山寨”自己
于是你就能見到如下滑稽的場景:模仿“雪碧”的“雷碧”,模仿“星巴克”的“星巴客”,模仿“娃哈哈”的“哇哈哈”……這些品牌其實并不是山寨,而是大家所熟悉的那家公司注冊的。

某種角度上說,知名企業“山寨”自己,是對惡意搶注相同或近似商標、惡意傍名牌行為的反擊。此前知名企業對山寨商標的反擊,往往是用法律手段維權,但所耗時間、人力、金錢成本較高,如果山寨商標眾多還會疲于應付。現在這些知名品牌主動“山寨”自己,將與主品牌相同、近似的商標盡早注冊,正是為了讓競爭者無隙可鉆。
下面隨小編一起來看看這些腦洞大到想不到的品牌是怎么“山寨”自己的。
1.星巴克


相比雪碧,星巴克注冊起商標來,真的只用喪心病狂來形容,他們可能翻遍了新華字典,把各種“星巴克”的形聲字都注冊了一遍。星巴客、巴克星、巴星克、辛巴克、辛巴客、新巴特......真的是絕佳的相聲練習題材。
2.大白兔


“大白兔”早在1991年就開始不停地注冊“大黑兔”、“大花兔”、“大灰兔”、大紅兔”,集齊七色彩虹不是夢。顯然,冠生園是不折不扣的色彩控,但色彩控并非他一家。
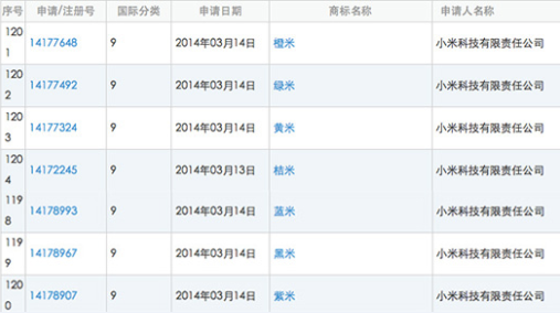
3.小米


我們熟悉的雷軍和他的小米,同樣是宗師級別的顏色控——我們知道有紅米手機,但很少有人知道,小米已經把橙米、綠米、黃米、桔米、藍米、黑米、紫米、全都注冊了!
4.阿里巴巴


顏色系看完,我們來看一個輩分系的,只是因為“巴巴”諧音“爸爸”,“阿里巴巴”就一不做二不休注冊了全套親戚,從此阿里一家人不再孤單。
5.六個核桃



六個核桃這么著名,山寨公司肯定不能比“六”小啊,于是“七個核桃”、“八個核桃”、“九個核桃”、“十個核桃”,不嫌核桃多,但是“七和十”都被其他公司注冊了。

——品牌為何“山寨”自己?
那么這些大公司都在打開腦洞瘋狂注冊商標,其意圖是什么呢?

某種角度上說,知名企業“山寨”自己,是對惡意搶注相同或近似商標、惡意傍名牌行為的反擊。此前知名企業對山寨商標的反擊,往往是用法律手段維權,但所耗時間、人力、金錢成本較高,如果山寨商標眾多還會疲于應付。現在這些知名品牌主動“山寨”自己,將與主品牌相同、近似的商標盡早注冊,正是為了讓競爭者無隙可鉆。

不過,這只是權宜之計,大量注冊商標需要金錢成本,商標到期還需繳費續展,這對企業來說,也是一種額外負擔。假如某些知名品牌過度寄望于“山寨自己”式保護,而不是在不斷提升產品質量、服務的含金量上做文章,并注重借助法律武器來維權,難免可能給真正的“山寨品牌”可乘之隙。
一旦“正牌”沒了“獨一無二”或者首選優勢,那些山寨品牌逐漸被消費者認可、接受、成氣候、影響力壯大,就必然會讓出市場份額乃至出現“劣幣”將“良幣”逐出市場的尷尬。顯而易見,“山寨自己”式保護是個次優選擇。

增強品牌自信,放大比較優勢,不遺余力、持之以恒提升品牌內涵贏得消費者信任,同時寄望于相關職能部門在商標評估、審查及市場監管、執法等方面的完善、給力,優化誠信、依法的市場經濟土壤,才應是破解矛盾的著眼和著力點所在。

![]()
友情鏈接:口碑營銷 鄭州廣告設計公司 工業設計 鄭州拓展 新東家公司轉讓網 品牌策劃
24小時服務熱線:135 2689 8120 136 6384 7088 TEL:營銷策劃:0371-66986765\品牌推廣0371-66293008
廣告合作:0371-66986765 FAX/傳真:0371-66986765 E-mail:zzwb8888@sina.com zhcssy@163.com
ADD:中國鄭州·鄭東新區中央商務區千璽廣場19層1912室 網站備案號:豫ICP備11010149號
豫公網安備 41010702002163號